26. 9. 2025
Naše vodoměrné šachty MODULO mají úspěch i na Slovensku
Vodoměrné šachty MODULO si stále více získávají oblibu i za hranicemi České republiky. Důkazem toho je nedávná zakázka pro slovenskou obec Hosťovce, která získala dotace na výstavbu nových vodovodů. Obec nás oslovila s žádostí o prezentaci naší vodoměrné šachty, kterou následně měli místní občané možnost objednat.
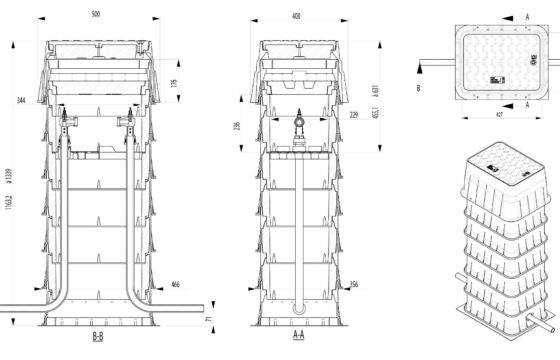
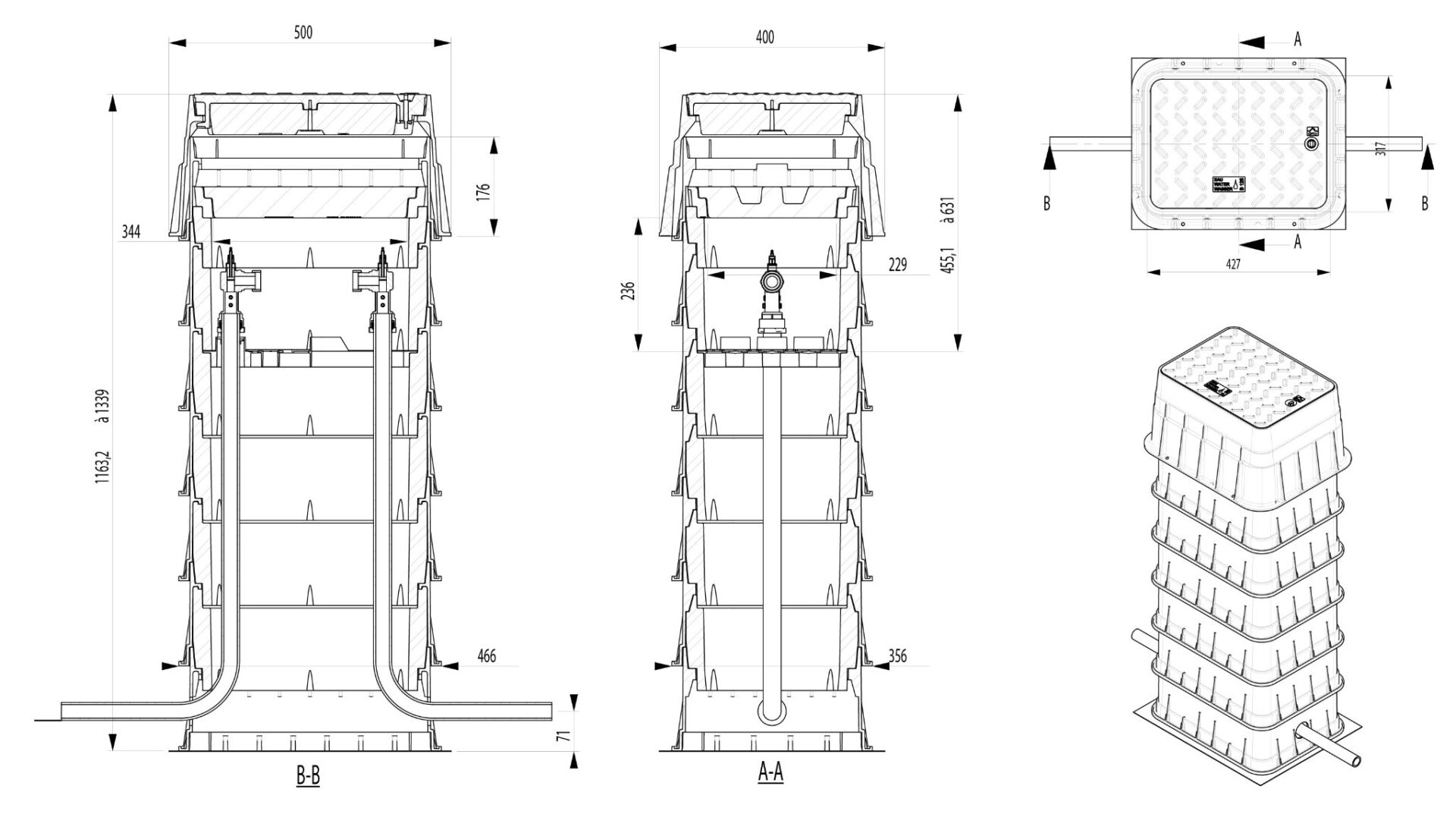
V první etapě jsme do obce dodali 80 kusů vodoměrných šachet MODULO. Tento produkt je ideální pro instalaci v případech, kdy je potřeba řešit jednoduchou, rychlou a spolehlivou instalaci vodovodního připojení s možností snadného přístupu k vodoměru. Šachty MODULO jsou navrženy tak, aby vyhovovaly různým podmínkám a usnadnily práci instalatérům i správě sítí. Dodávku jsme rozšířili také o kompozitní spojovací materiál ISIFLO, který je klíčovým prvkem pro spojení a propojení.
Plánována je druhá a třetí etapa projektu, v rámci nichž je rozjednána možnost odběru dalších 150 kusů šachet MODULO.
VÝHODY ŠACHTY MODULO
- Kompletní řešení včetně armatur pro okamžitou instalaci.
- Rychlá a snadná montáž: Minimální výkop, bez nutnosti betonáže.
- Instalace jedinou osobou = výrazná úspora nákladů.
- Přepravitelné osobním vozem.
- Garantovaná mrazuvzdornost (bez dodatečného zateplení).
- Všechny úkony (odečet, servis) přístupné přímo z terénu – bez vstupu do šachty.
